Design: Acionamentos e mecanismos

[Voltar]

[Avançar]

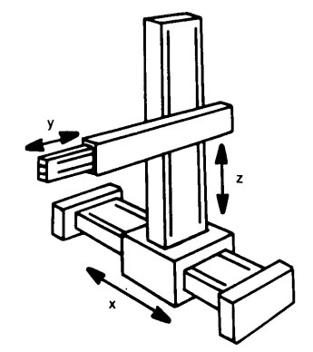
Junta de translação ou prismática

Forma de deslocamento de um corpo rígido produzido por uma translação ao longo de uma reta. Em geral, utiliza-se de elementos de apoio como guias de deslizamento ou rolamento

 

 

 

 

[Voltar]

[Avançar]